蜗轮蜗杆减速机蜗杆轴端装置的改进
2012-05-18作者:李宏图
(黑龙江牡丹江水泥集团有限责任公司)
我厂Φ4m×40m立波尔窑加热机主传动减速机采用蜗轮蜗杆减速机。该减速机蜗杆轴端装置存在许多问题。
1 存在的问题
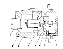
蜗杆主动端结构见图1。

图1 减速机蜗杆主动端改进前后结构图
1.蜗杆;2.密封盖;3.盘根;4.端盖;5.隔套;6.骨架式油封;7.轴承座;8.轴承
填料仓容积小,内部只装填一层25mm×25mm的油浸线盘根。因为油浸线盘根装得少,所以回弹性差,使用不长时间就会失去密封功能,导致润滑油渗漏。日常运转时,每天漏油量一般在2~3kg左右,严重时达到5kg之多,2d就得补一次油料。另外该减速机所处环境温度过高,夏季机体温度达到80℃左右,超过了油浸线盘根的工作温度,因此,盘根弹塑性变形能力降低,使用寿命缩短,基本是1~2个月更换一次。
由于漏油较多较快,蜗杆腔内的油位始终较低,蜗轮蜗杆间的润滑效果较差,摩擦增大,加重了齿面的磨损程度,使齿面点蚀严重;同时,也因为摩擦严重产生了过多的热量,导致减速机机体温度过高,使得齿面间油膜过薄,进一步恶化了其工作条件。
由于蜗轮、蜗杆齿面变坏,在减速机运行时会产生较大的冲击载荷,因此,轴瓦和轴承易损坏。
2 改进方法
1)重新制作主动端端盖,内径尺寸为Φ115mm,摒弃油浸线盘根,采用了4套Φ90mm×Φ115mm×12mm的骨架式橡胶油封。骨架式橡胶油封的工作温度是110~130℃,回弹性能好,并且可以承受较大的摩擦扭矩。因此,骨架式油封从耐用性、密封性等方面均优于油浸线盘根。
2)更换蜗杆被动端2号止推轴承,用48324轴承取代原8324轴承(如图2)。这样能有效克服轴向力,防止蜗杆窜动,提高轴承使用寿命,减轻了维护的工作量。

图2 减速机蜗杆被动端改进后结构图
1.蜗杆;2.轴承3520;3.轴承座;4.1号止推轴承8324;5.外部垫;6.中间垫;7.2号止推轴承48324;8.后盖
3)在环境温度过高时,尤其是夏季,在该减速机旁设置1~2台轴流风机对其进行降温。
4)在润滑油中加入适量的抗磨节能剂,在齿面形成牢固、柔韧的保护膜,从而可以减轻摩擦。
1994年改进后,蜗杆两端的漏油问题得到了有效控制。基本上3个月补一次油料就可以。
由于骨架式橡胶油封耐用性好,使用寿命长,1~2年换一次。
减速机运行平稳,轴承和轴瓦的使用寿命都得到延长。
